ePrivacy and GPDR Cookie Consent by TermsFeed Generator
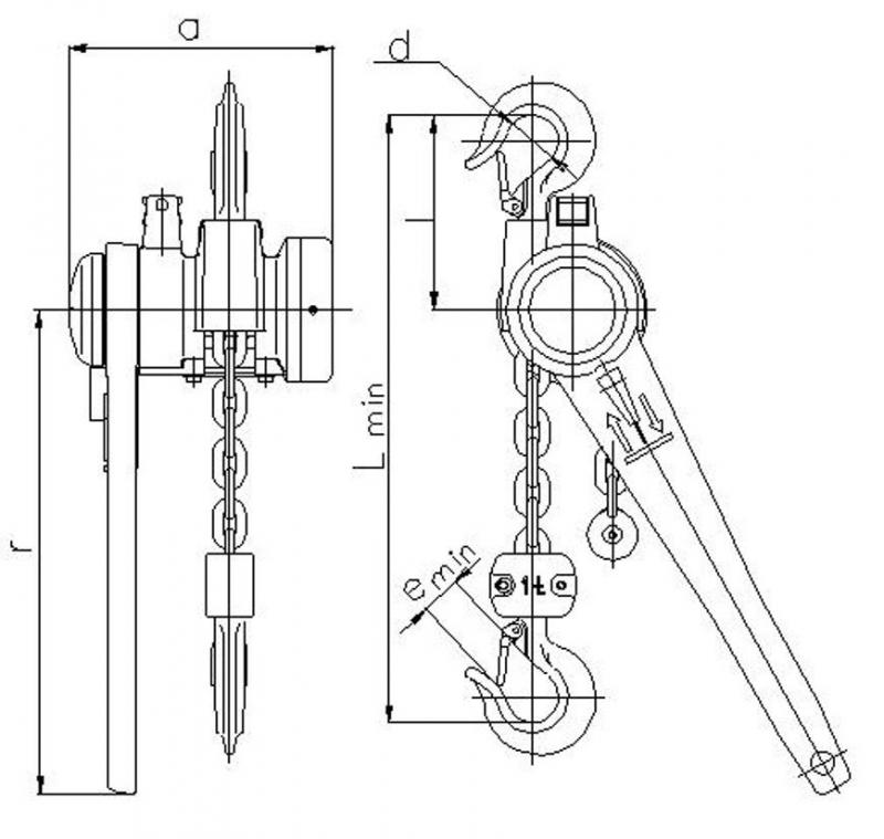
Jack Brano Z 310 3,2t, 3.0 m, link chain
565,12 €
 / ks
excl. VAT
Add to shopping list
Cat. number: 112142
weight: 0 kg
Logistické balenie: 1 ks

565,12 €
 / ks
excl. VAT
Add to shopping list