ePrivacy and GPDR Cookie Consent by TermsFeed Generator
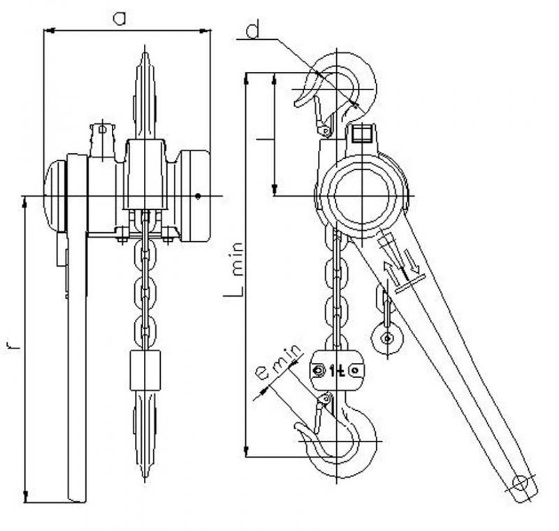
Jack Brano Z 310 5,0t, 1.5 m, link chain
708,41 €
 / ks
excl. VAT
Add to shopping list
Cat. number: 112139
weight: 0 kg
Logistické balenie: 1 ks

708,41 €
 / ks
excl. VAT
Add to shopping list