ePrivacy and GPDR Cookie Consent by TermsFeed Generator
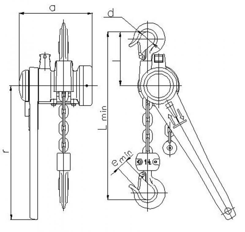
Jack Brano Z 310 1,0t, 3.0 m, link chain
354,95 €
 / ks
excl. VAT
Add to shopping list
Cat. number: 112084
weight: 0 kg
Logistické balenie: 1 ks

354,95 €
 / ks
excl. VAT
Add to shopping list